宣布时间:2023-01-13 00:00:00泉源:知产时势点击:0 返回列表
克日,,,,,,,,重庆第五中级人民法院宣布了中国天府可乐集团公司(重庆)的休业整理的通告。。。。。。。。据相识,,,,,,,,天府可乐曾是中国可乐品牌第一,,,,,,,,最高的时间占有其时中国可乐市场的75%。。。。。。。。
天府可乐绚烂不再
天府可乐起身于四川成都,,,,,,,,建设于1988年10月,,,,,,,,注册资源1252.8万元人民币。。。。。。。。在上世纪80年月抵达绚烂时期,,,,,,,,天府可乐曾被定为国宴用饮料。。。。。。。。其时,,,,,,,,天府可乐在全中国建有108家联营厂,,,,,,,,年销量高达20多万吨,,,,,,,,利税凌驾7000万。。。。。。。。
厥后,,,,,,,,由于适口可乐和百事可乐在中国汽水市场的强盛渗透率,,,,,,,,天府可乐虽然依附“情怀”回归,,,,,,,,吸引了大批消耗者关注,,,,,,,,但一波热门已往之后,,,,,,,,它也难敌两大主流品牌的竞争。。。。。。。。
现在,,,,,,,,天府可乐对外共投资4家企业,,,,,,,,但均已注销、吊销;;;;;天府可乐的多家分支机构也所有注销、吊销。。。。。。。。危害信息显示,,,,,,,,天府可乐自2022年5月起,,,,,,,,已多次被申请休业重整。。。。。。。。
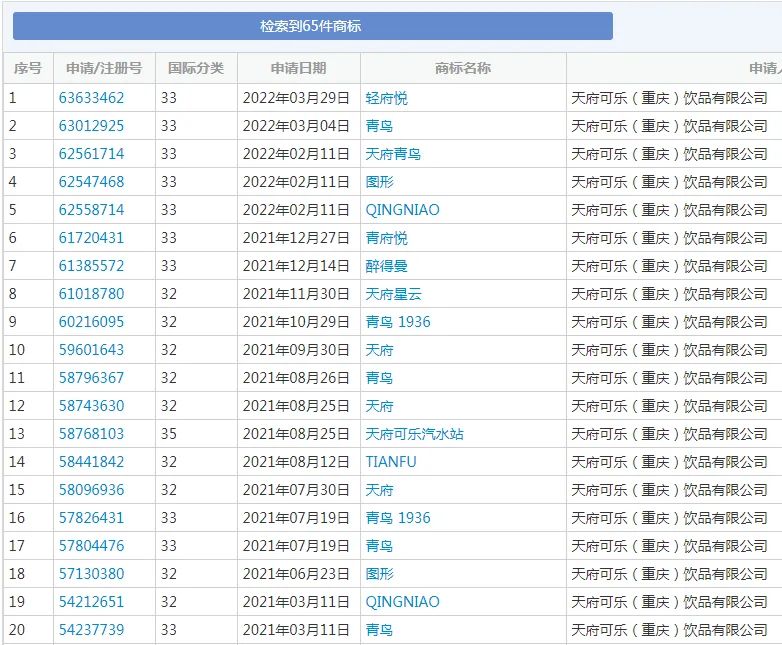
据中国商标网盘问显示,,,,,,,,天府可乐共计申请商标65件,,,,,,,,其中大多仍处于有用的状态。。。。。。。。
企业注销商标如那里置?????
首先,,,,,,,,列位需要熟悉到:商标是企业的无形资产,,,,,,,,它是有价值的,,,,,,,,在注销公司的同时,,,,,,,,万万不要忘了尚有这份无形资产的保存。。。。。。。。
执法划定:公司注销后商标可以在一年之内转让,,,,,,,,也可以提交注销商标申请,,,,,,,,若是公司在注销时未将商标转让,,,,,,,,关于已经决议归属的,,,,,,,,则企业可以通过移转将商标转移出来。。。。。。。。
也就是说,,,,,,,,公司主体消逝一年后,,,,,,,,商标会自动被注销。。。。。。。。一年内可以凭相关注销的证实来转移、转让商标,,,,,,,,一年后就没有这个权力了。。。。。。。。
一样平常来说,,,,,,,,有以下方法对商标举行处置惩罚:
归某个股东所有:对遗忘处置惩罚的公司资产,,,,,,,,在公司注销后,,,,,,,,应归其股东配合所有;其股东在承继公司资产的规模内,,,,,,,,继续对该公司未清偿的债务肩负责任。。。。。。。。
转到小我私家名下:可以将商标通过商标转让的方法转到小我私家名下,,,,,,,,以便后续使用或其他方法使用。。。。。。。。
转到其他公司:若是企业尚有其他公司的话,,,,,,,,可以转让到其他公司的名下。。。。。。。。
商标移转:好比企业合并、分立或改制后的权力义务承继者,,,,,,,,该企业注销后承继其权力义务的股东或投资者,,,,,,,,以及依法院裁定强制执行移转给新的权力人。。。。。。。。
商标出售:商标注册人在注册商标的有用期内,凭证法定的程序,将商标的专用权转让给另一方的一种行为,,,,,,,,可以将无形资产化有形,,,,,,,,创立经济收益,,,,,,,,商标的价值没有统一标准,,,,,,,,一样平常来说,,,,,,,,辨识度高的、寓意优美的、有着名度的商标价钱更高,,,,,,,,通常情形下,,,,,,,,市面上的商标都在1万-3万元之间。。。。。。。。这主要是取决于商标的名称是否顺口,,,,,,,,字数的几多,,,,,,,,是否切合项目的定位等因素。。。。。。。。
最后提醒各人:公司注销后要接纳响应的步伐转让或转移商标,,,,,,,,若是置之不睬,,,,,,,,商标就会随着公司的注销一起消亡。。。。。。。。